Корпорация Sony зарегистрировала патент на пыленепроницаемый дизайн для гаджетов, включая игровые консоли.

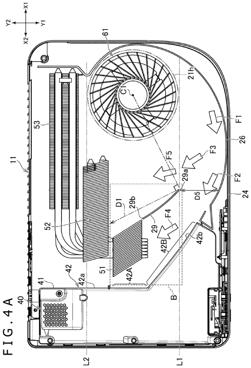
В описываемом документе говорится о новой системе вентиляции, которая защищает внутреннюю часть корпуса от пыли. В сообществе предполагают, что новое дизайнерское решение инженеры готовят для PlayStation 6.

Технические специалисты Sony предлагают использовать специальные перегородки между зоной вентиляции и креплениями, за счет которых минимизируются риски загрязнения и все последующие проблемы, включая перегрев и поломки.
Ранее эксперты сообщали, что новое поколение Sony стоит ждать не раньше второй половины 2028 года.